化工污水管道流量計在熱鉀堿溶液測量中的安裝與使用
點擊次數:3257 發布時間:2021-08-19 07:39:34
鹽湖工業公司主要生產合成氨、尿素、PVC、鉀堿、甲醇等,其中合成氨裝置的脫碳工序*為復雜。由于此工序聯鎖較多所以要求儀表測量精度要高,熱鉀堿溶液導電率較高,所以選用化工污水管道流量計*為合適,它主要是通過液體的導電性來準確測量熱鉀堿溶液(貧液及半貧液)的循環量,使之按一定的比率充分吸收工藝氣中的COZ氣,以保證后工序合成氣的凈化度,不使甲烷化爐溫度超標而造成停車。希望通過實踐對化工污水管道流量計作出比較具體的介紹。
1、化工污水管道流量計介紹
化工污水管道流量計是測速式流量計,適用于具有導電性液體體積流量的測量。流量傳感器測量通道內壁涂有防腐層,在測量通道內無任何固定或可動的節流部件,對流體無壓力損失,其輸出特性與被測液體的密度、勃度、流動狀態無關,可用于測量有腐蝕性或帶有固體微粒的流體及漿狀物料。但是,它不能測量氣體、蒸汽和非導電性液體。
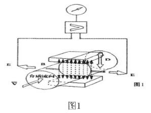
2、化工污水管道流量計的工作原理
磁力線方向運動時,導體受磁場感應產生感應電勢E(即發電機工作原理)。傳感器測量通道內的磁場是由安裝在測量通道外殼壁上的勵磁線圈在勵磁電流作用下產生的交變磁場。檢測元件為兩根電極棒,分別安裝在傳感器殼體兩側的棒孔部位,且兩極棒各有一端頭在傳感器通道內壁處,與通道內流體保持良好的電氣接觸。
當導電流體經傳感器通道時,導電流體流向垂直于磁力線方向,流體流動時切割磁力線,在導電流體中有感應電勢E產生,感應電勢與流速之間的關系式為:E=KBvD
式中:E一KBD
式中:E一感應電勢,V;
K一系數;
B一交變矩形波磁感應強度,T;
D一傳感器通道的內徑,M;
**體在通道內的平均流速,m/s
由式可知,感應電勢與流體的平均流速成正比關系,所以說化工污水管道流量計屬測速式流量計。流體所感應的電勢由兩支與液體接觸的電極檢出,并傳送至轉換器,由轉換器完成信號放大,并轉換成標準的輸出信號輸送至顯示器和累計單元。
化工污水管道流量計的特性與被測介質的物性和壓力、溫度無關,化工污水管道流量計經出廠前的校準后,在測量導電性介質的流量時,所測得的體積流量示值無需進行修正。
信號轉換器的輸出是以頻率輸出,轉換器的轉換標準是:無論傳感器的口徑及測量范圍,其輸出為標準頻率,即lms/流速轉換為1000脈沖/S,當被測液體流速為2.304m/S時,其輸出頻率為2.304kHz(l)。

3、本項目化工污水管道流量計《IM下25)機構及使用方法的介紹
化工污水管道流量計是由流量傳感器和轉換器(也叫顯示器)兩大部分組成。測量管上下裝有激磁線圈,通激磁電流后產生磁場穿過測量管,一對電極裝在測量管內壁與液體相接觸,引出感應電勢,送到轉換器。激磁電流則由轉換器提供。如圖2所示:

3.1撥動開關設置
在改變IMT25的開關設定之前必須切斷其電源。對于采用內部電源的情況(回路由變送器自身供電),按下圖3中顯示為黑色的那些開關的低端。對于外部電源(回路電源在變送器的外部),則按下圖3中顯示為白色的那些開關的低端。
3.2寫保護開關
位于與變送器蓋板相連的接線用印刷線路板上的作為寫保護使用的DIP開關用來防止意外地改變變送器組態或使累加器復位。這一功能通常只在受到監控的物料輸送操作中使用,或者用在因任何理由希望確保系統組態及累加值不被改變的場合中。因此,這些開關通常被置于“不起用”的位置(也是出廠前設定的缺省值)。如果將開關轉到“起用”的位置,便能起到上述的保護作用。
3.3與數字式偷出電路的連接
變送器的數字輸出信號引線可以連接到I/A系列的系統中。輸出信號是加載在4一20毫安(回路)線上的。這個程序只涉及變送器與系統之間的接線。現場接線的*大長度為600米(2000英尺)。信號的輸出功率是由FBM輸入模塊提供的。
導管走向向下避免水分積聚在接線盒中。任何不用的導管開口都應加以悶塞。
HART通信裝置或裝載在PC機上的組態器可以連接在變送器現場接線端到外部負載之間的任何位置,或連接到另外配供的1/0孔口上。如圖3所示:

4、化工污水管道流量計的安裝要求
(l)傳感器的使用條件時流經測量通道內的液體必須處在充滿狀況,傳感器安裝位置應優選在垂直管道上,且垂直管道內液體必須是自下而上流動,傳感器不可安裝在藝管路*高水平管段上,管段*高處易聚集氣體,在水平或傾斜的工藝管路上安裝,傳感器上游側直管段不可小于SD,下游直管段不小于ZD。傳感器安裝位置應遠離強磁場,安裝位置附近應無動力設備或磁力啟動器等。
(2)傳感器與工藝管道之間采用法蘭連接,緊固螺栓時不可擰得過緊,否則會損壞傳感器法蘭口聚四氟乙烯涂層。建議用力矩扳手緊固螺母,其*大力矩參照表。水平或傾斜工藝管道上安裝。其兩支檢測電極應處于水平位置,不允許處在工藝管道的正上方或正下方的位置,口徑大于300mm的傳感器應專設支架支撐。
(3)傳感器對外界電磁干擾比較敏感,為了消除電磁干擾和使用安全,應將傳感器外殼、被測介質和工藝管道三者連成等電位,并要求獨立接地,接地電阻小于10。因外界存在的電磁場感應電流、絕緣故障漏電流和危險區域采用的電位平衡器所產生的電位平衡電流會沿著金屬管道和工藝介質流動,這些電流在傳感器的電極上會產生干擾電壓,其電壓等級遠超過電極所測得的感應電勢,因此,要求將傳感器外殼、被測介質和工藝管道三者必須連成等電位,并接地,以消除外界千擾。
(4)化工污水管道流量計供貨通常根據工藝管道材質配置接地環,接地環材質為耐腐蝕不繡鋼,接地環長約30mm的圓管管頸。工藝管道為了防腐常采用塑料管或在金屬管道內涂絕緣防腐漆或襯里,而化工污水管道流量計常常應用在防腐蝕較強的場合。對于絕緣材質管道或管道內涂絕緣層的管道,僅用接地線將法蘭連接起來的辦法是不可能實現等電位接地的,應采取特殊措施,在傳感器兩端法蘭口處各裝一只接地環,把接地環圓管頸插入法蘭口內,使接地環與管內液體有良好的電氣接觸,再用接地線將法蘭與接地環連接起來。接地連接線應選用16mmZ多股銅芯線。
(5)信號轉換器安裝位置應盡可能靠近傳感器安裝,有利于減小外部電磁干擾對信號傳輸線的影響和信號強度的損失。通常使用制造廠提供的sm長度的屏蔽信號電纜將轉換器與傳感器連接起來。廠家提供的屏蔽信號電纜有兩種型號,一種為單層屏蔽信號電纜。另一種為三層屏蔽信號電纜。兩種型號電纜的接地方式是有區別的,應根據道貨的電纜決定屏蔽接地方式。
(6)如果信號電纜為單層屏蔽,要求外屏蔽層為一端接地,接地端接于傳感器端子1,三芯電纜中的兩根線為信號線,分別接于2、3端子,另一根芯線作為內屏蔽線,內屏蔽應兩端接地,屏蔽線的兩端應分別接在傳感器和轉換器的1端子上,如圖所示。如果到貨電纜為三層屏蔽信號電纜,則按圖(b)所示接線,*外層屏蔽層(鐵質)為一端接地,接于傳感器1端子,*二層為內屏蔽層(銅質),屏蔽層兩端分別接于傳感器和轉換器的1端子,兩根芯線屏蔽層為一端接地,分別接于轉換器20、30端子。
(7)另外,在轉換器于傳感器之間還有一根供電電纜,是轉換器給傳感器激勵線圈提供交變脈動電流用的專用電纜。為避免直流磁場對導電液體產生極化現象,給測量精確度帶來影響,化工污水管道流量計通常采用交變電流勵磁,產生交變磁場。
5、結束語
化工裝置的計量體系需要準確的流量計,以保證各種溶液的配比平衡以及后工序安全穩定運行。化工污水管道流量計的變送器結構簡單,沒有可動部件,也沒有任何阻礙流體流動的節流部件,所以當流體通過時不會引起任何附加的壓力損失,同時它不會引起諸如磨損,堵塞等問題,特別適用于測量帶有固體顆粒的礦漿,污水等液固兩相流體,以及各種粘性較大的漿液等,同樣,由于它結構上無運動部件,故可通過附上耐腐蝕絕緣襯里和選擇耐腐材料制成電極,起到很好的耐腐蝕性能,使之可用于各種腐蝕性介質的測量中。因此化工污水管道流量計對于熱鉀堿溶液流量的測量來說是一種比較理想的計量儀表,可以在化工以及其它行業中廣泛推廣。
化工污水管道流量計在熱鉀堿溶液測量中的安裝與使用
在污水處理中化工污水管道流量計的特點比較及選型
關于化工污水管道流量計的校驗周期
化工污水管道流量計產品技術特點及安裝方法
化工廠污水流量計在調試期與運行期故障有哪些典型的故障
化工廠污水流量計在特殊環境中需要考慮的一些因素
化工廠污水流量計安裝特點及常見故障原因分析與解決辦法
化工污水流量計在熱量表耐久性試驗裝置中的系統設計討論
化工污水流量計在水廠流量測量中的應用
影響化工污水流量計誤差的因素及不確定度分析
化工污水流量計在鉀肥生產中的使用注意事項
化工污水流量計校準設備的重要性
關于化工污水流量計的校驗周期
化工污水流量計勵磁系統研制的實驗與測試
化工污水流量計的各項參數指標的專項檢測及說明
撫順市安裝化工污水流量計選型基本情況調查與分析
造紙廠排放檢測化工污水流量計選型的電路設計方案
化工廠污水流量計,dn200污水流量計
化工污水流量計,工業污水流量計價格
化工廠污水流量計,腐蝕性污水流量計
化工污水流量計,耐腐蝕污水流量計
化工污水流量計,腐蝕性污水流量計
化工廠污水管道流量計的優點及安裝使用注意事項
如何測量化工廠污水處理流量計電極與所測液體介質接觸電阻值
關于化工廠污水專用流量計產品特點及應用維護的簡要介紹
化工廠污水流量計選型及安裝注意事項
化工污水流量計,防腐污水流量計
化工污水流量計,dn65污水流量計
化工污水流量計,污水流量計廠家
化工污水流量計選型
1、化工污水管道流量計介紹
化工污水管道流量計是測速式流量計,適用于具有導電性液體體積流量的測量。流量傳感器測量通道內壁涂有防腐層,在測量通道內無任何固定或可動的節流部件,對流體無壓力損失,其輸出特性與被測液體的密度、勃度、流動狀態無關,可用于測量有腐蝕性或帶有固體微粒的流體及漿狀物料。但是,它不能測量氣體、蒸汽和非導電性液體。
2、化工污水管道流量計的工作原理
磁力線方向運動時,導體受磁場感應產生感應電勢E(即發電機工作原理)。傳感器測量通道內的磁場是由安裝在測量通道外殼壁上的勵磁線圈在勵磁電流作用下產生的交變磁場。檢測元件為兩根電極棒,分別安裝在傳感器殼體兩側的棒孔部位,且兩極棒各有一端頭在傳感器通道內壁處,與通道內流體保持良好的電氣接觸。
當導電流體經傳感器通道時,導電流體流向垂直于磁力線方向,流體流動時切割磁力線,在導電流體中有感應電勢E產生,感應電勢與流速之間的關系式為:E=KBvD
式中:E一KBD
式中:E一感應電勢,V;
K一系數;
B一交變矩形波磁感應強度,T;
D一傳感器通道的內徑,M;
**體在通道內的平均流速,m/s
由式可知,感應電勢與流體的平均流速成正比關系,所以說化工污水管道流量計屬測速式流量計。流體所感應的電勢由兩支與液體接觸的電極檢出,并傳送至轉換器,由轉換器完成信號放大,并轉換成標準的輸出信號輸送至顯示器和累計單元。
化工污水管道流量計的特性與被測介質的物性和壓力、溫度無關,化工污水管道流量計經出廠前的校準后,在測量導電性介質的流量時,所測得的體積流量示值無需進行修正。
信號轉換器的輸出是以頻率輸出,轉換器的轉換標準是:無論傳感器的口徑及測量范圍,其輸出為標準頻率,即lms/流速轉換為1000脈沖/S,當被測液體流速為2.304m/S時,其輸出頻率為2.304kHz(l)。

3、本項目化工污水管道流量計《IM下25)機構及使用方法的介紹
化工污水管道流量計是由流量傳感器和轉換器(也叫顯示器)兩大部分組成。測量管上下裝有激磁線圈,通激磁電流后產生磁場穿過測量管,一對電極裝在測量管內壁與液體相接觸,引出感應電勢,送到轉換器。激磁電流則由轉換器提供。如圖2所示:

3.1撥動開關設置
在改變IMT25的開關設定之前必須切斷其電源。對于采用內部電源的情況(回路由變送器自身供電),按下圖3中顯示為黑色的那些開關的低端。對于外部電源(回路電源在變送器的外部),則按下圖3中顯示為白色的那些開關的低端。
3.2寫保護開關
位于與變送器蓋板相連的接線用印刷線路板上的作為寫保護使用的DIP開關用來防止意外地改變變送器組態或使累加器復位。這一功能通常只在受到監控的物料輸送操作中使用,或者用在因任何理由希望確保系統組態及累加值不被改變的場合中。因此,這些開關通常被置于“不起用”的位置(也是出廠前設定的缺省值)。如果將開關轉到“起用”的位置,便能起到上述的保護作用。
3.3與數字式偷出電路的連接
變送器的數字輸出信號引線可以連接到I/A系列的系統中。輸出信號是加載在4一20毫安(回路)線上的。這個程序只涉及變送器與系統之間的接線。現場接線的*大長度為600米(2000英尺)。信號的輸出功率是由FBM輸入模塊提供的。
導管走向向下避免水分積聚在接線盒中。任何不用的導管開口都應加以悶塞。
HART通信裝置或裝載在PC機上的組態器可以連接在變送器現場接線端到外部負載之間的任何位置,或連接到另外配供的1/0孔口上。如圖3所示:

4、化工污水管道流量計的安裝要求
(l)傳感器的使用條件時流經測量通道內的液體必須處在充滿狀況,傳感器安裝位置應優選在垂直管道上,且垂直管道內液體必須是自下而上流動,傳感器不可安裝在藝管路*高水平管段上,管段*高處易聚集氣體,在水平或傾斜的工藝管路上安裝,傳感器上游側直管段不可小于SD,下游直管段不小于ZD。傳感器安裝位置應遠離強磁場,安裝位置附近應無動力設備或磁力啟動器等。
(2)傳感器與工藝管道之間采用法蘭連接,緊固螺栓時不可擰得過緊,否則會損壞傳感器法蘭口聚四氟乙烯涂層。建議用力矩扳手緊固螺母,其*大力矩參照表。水平或傾斜工藝管道上安裝。其兩支檢測電極應處于水平位置,不允許處在工藝管道的正上方或正下方的位置,口徑大于300mm的傳感器應專設支架支撐。
(3)傳感器對外界電磁干擾比較敏感,為了消除電磁干擾和使用安全,應將傳感器外殼、被測介質和工藝管道三者連成等電位,并要求獨立接地,接地電阻小于10。因外界存在的電磁場感應電流、絕緣故障漏電流和危險區域采用的電位平衡器所產生的電位平衡電流會沿著金屬管道和工藝介質流動,這些電流在傳感器的電極上會產生干擾電壓,其電壓等級遠超過電極所測得的感應電勢,因此,要求將傳感器外殼、被測介質和工藝管道三者必須連成等電位,并接地,以消除外界千擾。
(4)化工污水管道流量計供貨通常根據工藝管道材質配置接地環,接地環材質為耐腐蝕不繡鋼,接地環長約30mm的圓管管頸。工藝管道為了防腐常采用塑料管或在金屬管道內涂絕緣防腐漆或襯里,而化工污水管道流量計常常應用在防腐蝕較強的場合。對于絕緣材質管道或管道內涂絕緣層的管道,僅用接地線將法蘭連接起來的辦法是不可能實現等電位接地的,應采取特殊措施,在傳感器兩端法蘭口處各裝一只接地環,把接地環圓管頸插入法蘭口內,使接地環與管內液體有良好的電氣接觸,再用接地線將法蘭與接地環連接起來。接地連接線應選用16mmZ多股銅芯線。
(5)信號轉換器安裝位置應盡可能靠近傳感器安裝,有利于減小外部電磁干擾對信號傳輸線的影響和信號強度的損失。通常使用制造廠提供的sm長度的屏蔽信號電纜將轉換器與傳感器連接起來。廠家提供的屏蔽信號電纜有兩種型號,一種為單層屏蔽信號電纜。另一種為三層屏蔽信號電纜。兩種型號電纜的接地方式是有區別的,應根據道貨的電纜決定屏蔽接地方式。
(6)如果信號電纜為單層屏蔽,要求外屏蔽層為一端接地,接地端接于傳感器端子1,三芯電纜中的兩根線為信號線,分別接于2、3端子,另一根芯線作為內屏蔽線,內屏蔽應兩端接地,屏蔽線的兩端應分別接在傳感器和轉換器的1端子上,如圖所示。如果到貨電纜為三層屏蔽信號電纜,則按圖(b)所示接線,*外層屏蔽層(鐵質)為一端接地,接于傳感器1端子,*二層為內屏蔽層(銅質),屏蔽層兩端分別接于傳感器和轉換器的1端子,兩根芯線屏蔽層為一端接地,分別接于轉換器20、30端子。
(7)另外,在轉換器于傳感器之間還有一根供電電纜,是轉換器給傳感器激勵線圈提供交變脈動電流用的專用電纜。為避免直流磁場對導電液體產生極化現象,給測量精確度帶來影響,化工污水管道流量計通常采用交變電流勵磁,產生交變磁場。
5、結束語
化工裝置的計量體系需要準確的流量計,以保證各種溶液的配比平衡以及后工序安全穩定運行。化工污水管道流量計的變送器結構簡單,沒有可動部件,也沒有任何阻礙流體流動的節流部件,所以當流體通過時不會引起任何附加的壓力損失,同時它不會引起諸如磨損,堵塞等問題,特別適用于測量帶有固體顆粒的礦漿,污水等液固兩相流體,以及各種粘性較大的漿液等,同樣,由于它結構上無運動部件,故可通過附上耐腐蝕絕緣襯里和選擇耐腐材料制成電極,起到很好的耐腐蝕性能,使之可用于各種腐蝕性介質的測量中。因此化工污水管道流量計對于熱鉀堿溶液流量的測量來說是一種比較理想的計量儀表,可以在化工以及其它行業中廣泛推廣。
上一篇:超聲波流量計和污水處理電磁流量計在不同的環境下各有優勢


