浮球液位計的常見故障及解決方法
點擊次數:3061 發布時間:2021-07-04 02:12:01
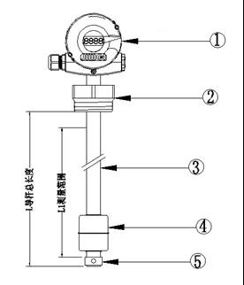
浮球液位計主要由表頭、過程連接、導桿、浮球和鎖緊環(如下圖)五部分組成。其通過連接法蘭安裝于容器頂上。

圖為Float-11浮球液位計整體結構圖 ①表頭 ②過程連接 ③導桿 ④浮球 ⑤鎖緊環
根據阿基米德原理,當容器的液位變化時,浮球也隨之上下浮動,又由于浮球具有磁性,浮球液位計的干簧管受磁性吸合,從而把對應的液位轉換為電信號,再通過表頭顯示出液位的實際高低。
由于浮球液位計具有結構簡單、長度能夠根據工況要求按需定制,頗受用戶歡迎,在食品加工、廢水處理以及石油化工等行業的液位測量方面有著廣泛應用。
盡管如此,實際應用中如果操作使用不當,浮球液位計也會出現一些故障。為幫助大家更好地使用浮球液位計,本文擬就浮球液位計的故障及處理介紹如下。
一般來講,浮球液位計的故障比較常見的有指示異常、浮球被卡和受磁場干擾導致儀表出現誤動作三種。
故障一、指示不正常
浮球液位計指示不正常,是浮球液位計非常常見的故障。通常有以下幾種表現:
現象1、常壓車間浮球液位計出現了指示*大的現象。
故障處理:通過檢查發現浮球的配重在*低點,說明儀表的液面*高?,F場玻璃板和儀表指示對不上,通常是儀表浮球脫落導致液面*高的假液位現象。此時,可通過停車檢修更換浮球的辦法進行處理。
現象2、芳烴罐區浮球液位計不隨容器內的液位變化,一直指示*大。
故障處理:此時應檢查浮球是否脫落,如脫落重新安裝即可。
現象3、浮球液位計的指示偏低。
故障處理:出現上述故障現象,可能是浮球脫落、浮球連桿斷裂、浮球轉換機構損壞、浮球指針或表頭損壞等原因導致。
如果按壓儀表轉換機構、浮球連桿轉動靈活,指針和表頭無障礙,這時應更換浮球連桿,如果仍不能排除故障,則應結合上述原因進行逐一排除。
現象4、浮球液位計突然無指示。
故障處理:如果測量回路電壓無信號,一次元件電源極性沒接反,電流轉換部分無電流輸出,則說明儀表表頭損壞,應對浮球液位計儀表的表頭進行更換。
故障二、受到磁場干擾
如果浮球液位計出現誤動作現象,根據浮球液位計的工作原理分析,多半是由于受到磁場干擾所致。因為浮球液位計的浮球以及導桿均含有磁性物體,若受到應用環境中其他磁場干擾,會影響到儀表的正常工作,甚至導致儀表部件消磁情況的出現。
故障處理:請及時查看儀表及容器周邊是否存在強烈磁場,并且確認被測液體中沒有帶磁性的雜質,如果有磁場存在,請及時予以清除,以避免浮球液位計因受到磁場干擾而出現異常。
故障三、浮球被卡住
浮球被卡住,通常是因為被測液體中含有雜質和污垢,時間一長,導桿便會漸漸結垢。若浮球被卡主不動,則會導致儀表無信號輸出。
故障處理:如果出現浮球被卡住的故障,儀表人員應及時查看浮球的狀態,檢查導桿表面是否有水垢凝結,并盡快清理干凈。尤其對于含有雜質的被測液體,儀表人員應對儀表導桿進行定期清理。
實踐中,由于現場工況復雜、操作不當等原因,都可能導致浮球液位計出現一些其他故障,進而影響生產的正常進行。這時請及時檢查電壓、電流、負載是否異常,并認真閱讀產品使用說明書,按照上面的要求進行規范操作。如故障仍不能排除,可向廠家技術人員咨詢,如仍不能解決,應及時發回廠家進行維修處理。
其實,與其充當消防隊員,頭痛醫頭的解決問題,不如從一開始就認真閱讀產品說明書,規范操作和維護,并養成定期檢查和保養的習慣,功夫下在平時,就能大幅降低故障率的發生。
上一篇:防爆浮球液位計如何調整
下一篇:浮球液位計的工作原理圖


